注意:访问本站需要Cookie和JavaScript支持!请设置您的浏览器! 打开购物车 查看留言付款方式联系我们
初中电子 单片机教材一 单片机教材二
搜索上次看见的商品或文章:
商品名、介绍 文章名、内容
首页 电子入门 学单片机 免费资源 下载中心 商品列表 象棋在线 在线绘图 加盟五一 加入收藏 设为首页
本站推荐:
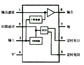
LM567集成电路的应用
文章长度[1109] 加入时间[2006/7/1] 更新时间[2026/4/14 9:51:32] 级别[3] [评论] [收藏]

 


 567为通用音调译码器,当输入信号于通带内时提供饱和晶体管对地开关,电路由I与Q检波器构成,由电压控制振荡器驱动振荡器确定译码器中心频率。用外接元件独立设定中心频率带宽和输出延迟。


主要用于振荡、调制、解调、和遥控编、译码电路。如电力线载波通信,对讲机亚音频译码,遥控等。



  • 用外接电阻20比1频率范围
  • 逻辑兼容输出具有吸收100mA电流吸收能力。
  • 可调带宽从0%至14%
  • 宽信号输出与噪声的高抑制
  • 对假信号抗干扰
  • 高稳定的中心频率
  • 中心频率调节从0.01Hz到500kHz                        
  • 电源电压5V--15V,推荐使用8V。

 

 

应用举例:输入端接104电容,输出端接上拉电阻10K,C1、C2为1uF。R1、C1决定振荡频率,一般C1为104电容,R1为10K--200K。电源电压为8V。


(邢树村)

 

 

 

 

 

 

 

 

 

 

1、 本站不保证以上观点正确,就算是本站原创作品,本站也不保证内容正确。
2、如果您拥有本文版权,并且不想在本站转载,请书面通知本站立即删除并且向您公开道歉! 以上可能是本站收集或者转载的文章,本站可能没有文章中的元件或产品,如果您需要类似的商品请 点这里查看商品列表!
本站协议 | 版权信息 |  关于我们 |  本站地图 |  营业执照 |  发票说明 |  付款方式 |  联系方式
深圳市宝安区西乡五壹电子商行——粤ICP备16073394号-1;地址:深圳西乡河西四坊183号;邮编:518102
E-mail:51dz$163.com($改为@);Tel:(0755)27947428
工作时间:9:30-12:00和13:30-17:30和18:30-20:30,无人接听时可以再打手机13537585389